传感器位置调节

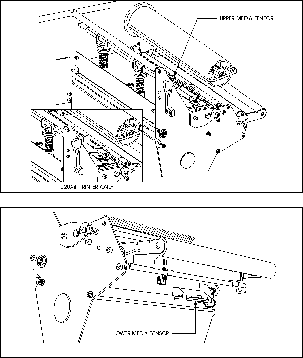
穿透式标签传感器使用了上下两个标签传感器,上下标签传感器可以移动且必须正确定位以得到正常的感测作用。下标签传感器发射出红外光,上传感器接收从标签间的间隙穿过来的红外光。假如你使用了Hole过孔或Notch缺口型标签介质,则上标签传感器必须位于过孔或缺口的正上方使得上标签传感器能接收到红外光。

穿透式标签传感器(上下标签传感器):

 

黑标传感器位于打印头的下方,当你打开打印头时你看到的一个发红光的部位就是黑标传感器,黑标传感器的位置是固定的且不能被移动。

黑标传感器: